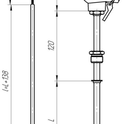
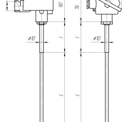
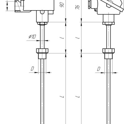
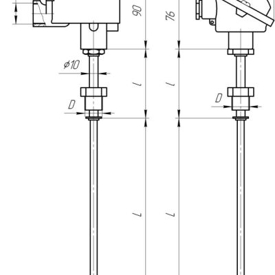
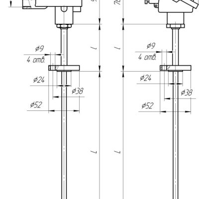
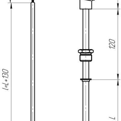
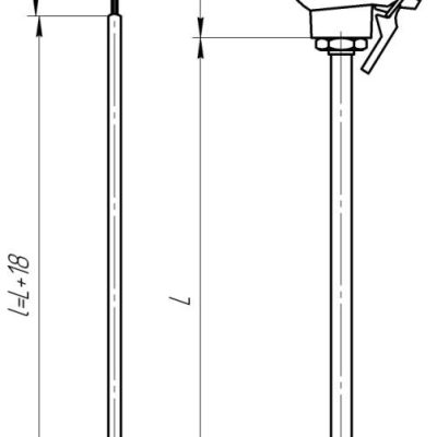
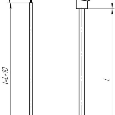
Термосопротивления с коммутационной головкой