Термосопротивление ТСМ/ТСП-108ЕХD (EXI)
Цена: по запросу
ТУ 4211-036-39375199-11
Область применения
Термопреобразователи для измерения температур во взрывоопасных зонах или помещениях, где могут содержаться аммиак, азотоводородная смесь, природный газ и продукты его сгорания, конвертируемый газ и его компоненты, раствор моноэтанолоамина с примесями сероводорода и сернистого ангидрида в допустимых пределах по ГОСТ 12.1.005, в нефтеперерабатывающей, нефтехимической промышленности и при производстве минеральных удобрений.
Конструктивные особенности
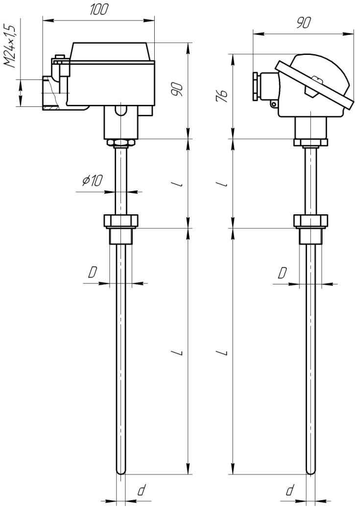
Защитная арматура с неподвижным штуцером М20×1,5 или G 1/2, материал клеммной головки – алюминиевый сплав.
Вид взрывозащиты: d (взрывонепроницаемая оболочка) по ГОСТ 30852.1 либо i (искробезопасная электрическая цепь) по ГОСТ 30852.10.
Клеммные головки термопреобразователей с взрывозащитой типа d комплектуются специальными кабельными вводами (см. раздел «узлы и детали для монтажа и ремонта»).
Диапазоны измерения
|
НСХ |
Класс допуска |
Диапазон рабочих температур, °С |
Номинальная температура применения, °С |
|
50М, 100М |
A |
от -50 до 120 |
90 |
|
B, C |
от -50 до 180 |
150 |
|
|
50П, 100П, Pt100 |
A |
от -50 до 450 |
350 |
|
B, C |
от -50 до 600 |
450 |
Технические характеристики
|
Модификация |
НСХ |
Класс допуска |
Схема |
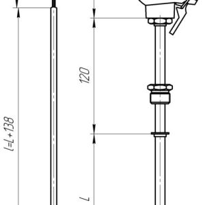
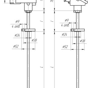
Длина монтажной части, L, мм |
Длина l, мм |
Диаметр арматуры, d, мм |
|
ТСМ-108Exd (Exi) |
50М, 100М |
А, В, С |
3, 4 |
от 250 до 3150 |
80, 100, 120 |
6 8 10 |
|
50М |
В, С |
2, 2×2 |
от 250 до 1250 |
|||
|
100М |
от 250 до 2000 |
|||||
|
ТСП-108Exd (Exi) |
50П, 100П, Pt100 |
А, В, С |
3, 4 |
от 250 до 3150 |
||
|
50П |
В, С |
2, 2×2 |
от 250 до 630 |
|||
|
100П, Pt100 |
от 250 до 1250 |
|
Пример обозначения при заказе |
|||||||||||
|
ТСМ-108Exd |
– |
100М В3 |
– |
8/G1/2 |
– |
400/120 |
– |
С13 |
– |
Бкм15 |
(10) |
|
1 |
|
2 |
|
3 |
|
4 |
|
5 |
|
6 |
7 |
- Тип и модификация термопреобразователя
- НСХ, класс допуска, схема соединений
- Диаметр защитной арматуры, d / резьба штуцера, D (М20×1,5 или G ½)
- Длина монтажной части, L / вспомогательная длина, l
- Материал защитной арматуры
- Тип кабельного ввода (Т – для трубного монтажа, Бк – для бронированного кабеля, Бкм – для металлорукава с указанием DN рукава)
- Диаметр кабеля: 8, 10, 12, 14 мм.
- Примечание: для взрывозащиты вида i п. 6 и 7 не указываются.
