Термосопротивление ТСМВ/ТСПВ-1088-06
Цена: по запросу
ТУ 4211-036-39375199-11
Область применения
Термопреобразователи сопротивления общего назначения
Конструктивные особенности
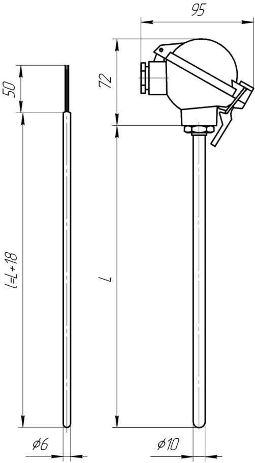
Конструкция разборная, чувствительный элемент помещен в термометрическую вставку. Защитная арматура без штуцера, материал клеммной головки – алюминиевый сплав; могут комплектоваться передвижными штуцерами.
Материал защитной арматуры: сталь 12Х18Н10Т (С10) или 10Х17Н13М2Т (С13).
Время термической реакции не превышает 30 сек.
Диапазоны измерения
|
НСХ |
Класс допуска |
Диапазон рабочих температур, °С |
Номинальная температура применения, °С |
|
50М, 100М |
A |
от -50 до 120 |
90 |
|
B, C |
от -50 до 180 |
150 |
|
|
50П, 100П, Pt100 |
A |
от -50 до 450 |
350 |
|
B, C |
от -50 до 600 |
450 |
Технические характеристики
|
Модификация |
НСХ |
Класс допуска |
Схема |
Длина монтажной части, L, мм |
|
ТСМв-1088-06 |
50М, 100М |
А, В, С |
3, 4 |
от 250 до 3150 |
|
50М |
В, С |
2, 2×2 |
от 250 до 1250 |
|
|
100М |
от 250 до 2000 |
|||
|
ТСПв-1088-06 |
50П, 100П, Pt100 |
А, В, С |
3, 4 |
от 250 до 3150 |
|
50П |
В, С |
2, 2×2 |
от 250 до 630 |
|
|
100П, Pt100 |
от 250 до 1250 |
|
Пример обозначения при заказе |
|||||||||
|
ТСМв-1088-06 |
– |
320 |
– |
50М |
– |
В |
4 |
– |
С10 |
|
1 |
|
2 |
|
3 |
|
4 |
5 |
|
6 |
- Тип и модификация термопреобразователя
- Длина монтажной части, L
- НСХ
- Класс допуска
- Схема соединений
- Материал защитной арматуры
