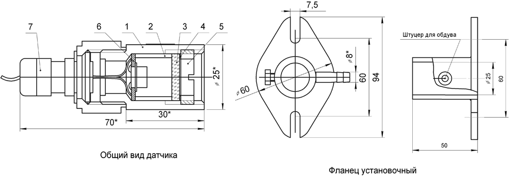
Фотодатчик ФД-02 (ИК)
Для преобразования потока инфракрасного спектра оптического излучения в электрический сигнал.
Цена: по запросу
Отправьте заявку
0
людей смотрят этот товар прямо сейчас
Фотодатчик в комплекте с сигнализатором горения ЛУЧ-1АМ используется для контроля наличия пламени горелочных устройств, работающих на любом виде топлива.
Связь с сигнализатором ЛУЧ-1АМ — 2-х проводная витая пара.
Основные технические характеристики ФД-02 (ИК)
| Чувствительность, В/Вт | >240 |
| Рабочий диапазон, инфракрасный спектр λ,нм | <1500 |
| Тип фотоприемника | фотодиод InGaAs |
| Длина линии связи с сигнализатором типа ЛУЧ-1АМ, м | <200 |
| Температура окружающей среды, оС | от -40до +70 |
| Степень защиты, (код IP) | IP54 |
| Габаритные размеры, мм | Ø35х95 |


