Электрозапальник газовый ЭЗГ-МК
Для дистанционного розжига горелок котлоагрегатов малой и средней мощности.
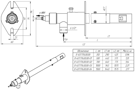
Конструктивно выполнен как упрощенный вариант ЭЗГ.
Конструктивные доработки позволили уменьшить установочную трубу в горелке.
Цена: по запросу
Отправьте заявку
0
людей смотрят этот товар прямо сейчас
- Сопловая часть выполнена из нержавеющей стали;
- Меньший диаметр установочный трубы по сравнению с ЭЗГ;
- Меньшая цена;
- Надежная керамика, выдерживающей напряжение до 20 КВт, устойчивая к влаге;
- Простота и надежность;
- Вариант исполнения без контрольного электрода (КЭ);
- Технические характеристики, варианты исполнения соответствуют базовой версии.
Основные технические характеристики ЭЗГ-МК
|
Рабочая среда |
Природный, сжиженный газ, пропан-бутановая смесь |
|
Присоединительное давление газа перед запальной горелкой, МПа |
(0,001 — 0,25) |
|
Тепловая мощность при работе на газообразном топливе, кВт, не более |
80 |
|
Длина факела при отрегулированном режиме горения, м, не менее |
0,8 |
|
Стандартные длина запальника, L, мм |
350; 500; 700;1000 |


