Термопара ТПП/ТПР-104 (до 1250°С)
Цена: по запросу
ТУ 4211-023-39375199-03
Область применения
Термопреобразователи для высокотемпературных газовых сред.
Конструктивные особенности
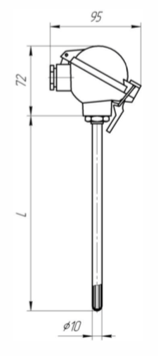
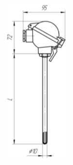
Защитная арматура без штуцера, материал клеммной головки – алюминиевый сплав.
Термоэлектроды: ПлТ, ПР10 (13) для ТПП; ПР6, ПР30 для ТПР.
Диапазоны измерения
|
Тип термопары |
Материал защитной арматуры |
Диапазон рабочих температур, °С |
Номинальная температура применения, °С |
|
S R |
Т45, Т78 |
от 0 до 1250 |
1100 |
|
B |
Т45, Т78 |
от 600 до 1250 |
1100 |
Технические характеристики
|
Модификация |
Количество чувствительных элементов и вид рабочего спая |
Показатель тепловой инерции, с, не более |
Длина монтажной части, L, мм |
|
ТПП-104 ТПР-104 |
1И, 2И |
50 |
320, 400, 500, 630, 800, 1000 |
|
Пример обозначения при заказе |
||||||||
|
ТПП (S)-104 |
– |
2 |
– |
320 |
– |
1 |
– |
Т45 |
|
1 |
|
2 |
|
3 |
|
4 |
|
5 |
- Тип и модификация термопреобразователя
- Класс допуска: 1 или 2 для ТПП, 2 или 3 для ТПР
- Длина монтажной части, L
- Количество рабочих спаев: 1 или 2
- Материал защитной арматуры
