Датчик температуры ТХА-К/ТХК-К/ТЖК/ТНН.103, -1031 Термопара
Цена: по запросу
ТУ 4211-022-39375199-02, ТУ 4211-030-39375199-07
Область применения
Бескорпусные термопреобразователи для измерения температуры твердых тел.
Конструктивные особенности
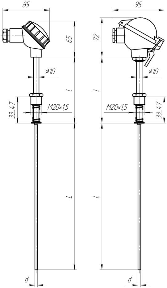
- ТХА-К/ТХК-К/ТЖК/ТНН.103: арматура с подпружиненным штуцером М20×1,5; материал клеммной головки – фенопласт.
- ТХА-К/ТХК-К/ТЖК/ТНН.1031: то же, что и ТХА-К/ТХК-К/ТЖК/ТНН.103, но головка из алюминиевого сплава.
Диапазоны измерения
|
Тип термопары |
Материал защитной оболочки |
Диаметр кабеля, d, мм |
Диапазон рабочих температур, °С |
Номинальная температура применения, °С |
|
К |
С321, С10 |
3; 4; 4,5; 5; 6; 8 |
от -40 до 800 |
600 |
|
С316 |
3; 4,5; 6 |
от -40 до 900 |
700 |
|
|
Т310, Т600, Т78 |
3 |
от -40 до 1000 |
800 |
|
|
4,5; 6 |
от -40 до 1100 |
900 |
||
|
L |
С10 |
3; 4; 4,6; 5; 6; 8 |
от -40 до 600 |
450 |
|
J |
С321, С316 |
3 |
от -40 до 550 |
450 |
|
4,5 |
от -40 до 650 |
550 |
||
|
6 |
от -40 до 750 |
650 |
||
|
N |
С321, С10 |
3; 4,5; 6; 8 |
от -40 до 800 |
600 |
|
С316 |
3; 4,5; 6 |
от -40 до 900 |
700 |
|
|
Т310, Т600, Т78 |
3 |
от -40 до 1000 |
900 |
|
|
4,5; 6 |
от -40 до 1100 |
1000 |
Технические характеристики
|
Модификация |
Коли-чество рабочих спаев |
Наружный диаметр, d, мм |
Показатель тепловой инерции, с, не более |
Длина монтажной части, L, мм |
|
|
с изол. спаем |
с неизол. спаем |
||||
|
ТХА-К.103 (1031) ТХК-К.103 (1031) ТЖК.103 (1031) ТНН.103 (1031) |
1 |
3 |
2 |
1,5 |
20, 40, 80, 100, 120, 200, 250, 320, 400, 500, 630, 800, 1000, 1250, 1600 |
|
4 или 4,5 |
3 |
2 |
|||
|
5 |
4 |
3 |
|||
|
6 |
8 |
6 |
|||
|
2 |
4,5 или 4,6 |
3 |
2 |
||
|
Пример обозначения при заказе |
||||||||||||
| ТЖК.103 |
– |
2 |
– |
1 |
– |
1 |
– |
С10 |
– |
3/С316 |
– |
250/120 |
|
1 |
|
2 |
|
3 |
|
4 |
|
5 |
|
6 |
|
7 |
- Тип и модификация термопреобразователя
- Класс допуска, 1 или 2
- Изоляция рабочего спая: «1» — изолированный, «2» — неизолированный
- Количество рабочих спаев: 1 или 2
- Материал защитной арматуры
- Наружный диаметр термопарного кабеля, d / материал оболочки кабеля
- Монтажная длина, L/ вспомогательный размер, l
