Датчик температуры ТХАВ-2388-04У Термопара
Цена: по запросу
ТУ 4211-018-39375199-00
Область применения
Термопреобразователи предназначены для измерения температуры в расплавах алюминия и цветных металлов.
Конструктивные особенности
Защитная арматура без штуцера под углом 90°, материал арматуры – сталь 15Х25Т, для погружаемой части используются защитные чехлы. В качестве материала чехла может применяться:
- боросилицированный графит (БСГ);
- графитсодержащая масса (Г);
- чугун (Ч);
- сталь 12Х18Н10Т (С10).
Диапазоны измерения
|
Тип термопары |
Материал защитного чехла |
Диапазон рабочих температур, °С |
Номинальная температура применения, °С |
|
К |
Г, Ч |
от -40 до 900 |
– |
|
БСГ |
от -40 до 1000 |
– |
|
|
С10 |
от -40 до 1100 |
– |
Технические характеристики
|
Модификация |
Количество чувствитель-ных элементов и вид рабочего спая |
Материал чехла |
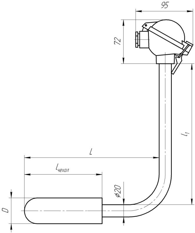
Диаметр защитного чехла, D, мм |
Показатель тепловой инерции, с, не более |
Длина чехла, lчехла, мм |
Длина монтажной части, L |
Размер l1, мм |
|
ТХАв-2388-04У |
1И |
БСГ |
42 |
500 |
380; 500; 740; 1100; 1460; 1600 |
800÷3150 |
400; 800 |
|
Г |
50 |
500 |
до 1600 |
||||
|
Ч |
35 43 |
90 |
1250 1524; 2000 |
||||
|
С10 |
40 |
70 |
700; 1000 |
|
Пример обозначения при заказе |
||||||||||||
| ТХАв-2388-04У |
– |
500/400 |
– |
2 |
– |
1 |
– |
1 |
– |
БСГ |
– |
380 |
|
1 |
|
2 |
|
3 |
|
4 |
|
5 |
|
6 |
|
7 |
- Тип и модификация термопреобразователя
- Длина монтажной части, L / вспомогательный размер, l1
- Класс допуска: 2
- Изоляция рабочего спая: «1» — изолированный
- Количество рабочих спаев: 1
- Материал защитного чехла
- Длина чехла, lчехла
