Датчик температуры ТХА-К/ТНН.232У Термопара
Цена: по запросу
ТУ 4211-022-39375199-02; ТУ 4211-030-39375199-07
Область применения
Термопреобразователи предназначены для измерения температуры в газовых высокотемпературных средах.
Конструктивные особенности
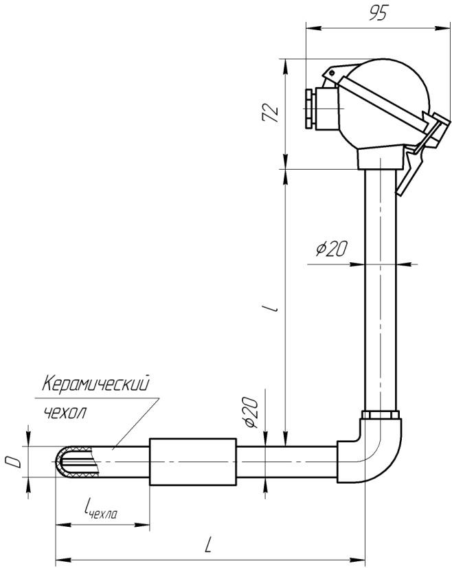
Защитная арматура без штуцера под углом 90°, материал арматуры – стали 12Х18Н10Т (С10), 15Х25Т (Т00), ХН45Ю (Т45), ХН78Т (Т78); для погружной части используются керамические чехлы.
Термопреобразователи комплектуются транспортным чехлом.
Диапазоны измерения
|
Тип термопары |
Материал защитного чехла |
Диапазон рабочих температур, °С |
Номинальная температура применения, °С |
|
К |
КК, КВ, МК, С530, С610, С795 |
от 0 до 1100 |
900 |
|
N |
от 0 до 1250 |
1100 |
Технические характеристики
|
Модифи кация |
Количество чувств-ных элементов и вид рабочего спая |
Защит. чехол |
Диаметр защит. чехла, D, мм |
Показатель тепловой инерции, с, не более |
Длина монтажной части, L, мм |
Длина чехла, lчехла, мм |
Вспомога-тельный размер, l, мм |
|
ТХА-К.232У ТНН.232У |
1И, 2И |
С530,С610,С795 |
20 |
90 |
800÷2000 |
250÷1000 |
400÷1000 |
|
КВ, КТ |
20 |
90 |
800÷2000 |
250÷1000 |
|||
|
МК |
20 |
90 |
800÷2000 |
250÷800 |
|||
|
КК |
25 |
180 |
800÷2000 |
400÷800 |
|
Пример обозначения при заказе |
||||||||||||||
| ТХА-К.232У |
– |
2 |
– |
1 |
– |
1 |
– |
20/12 |
– |
Т00/КВ |
– |
1000/400 |
– |
600 |
|
1 |
|
2 |
|
3 |
|
4 |
|
5 |
|
6 |
|
7 |
|
8 |
- Тип и модификация термопреобразователя
- Класс допуска:1 или 2
- Изоляция рабочего спая: «1» — изолированный
- Количество рабочих спаев: 1
- Диаметр монтажной вставки D1/ наружный диаметр чехла, D
- Материал монтажной вставки / материал чехла
- Длина монтажной части, L / длина l
- Длина чехла, lчехла
