ТС731, игольчатое термосопротивление (-50…+150С) с удлинит. проводом
Цена: по запросу
Предназначена для измерения температуры продуктов пищевой промышленности в диапазоне от -50 до +150°С.
-ТУ 4211-011-12023213-2009
-Внесены в Государственный реестр средств измерений под № 41202-09
-Номинальная статическая характеристика Pt100 по ГОСТ Р 8.625-2006.
-Класс допуска В по ГОСТ Р 8.625-2006.
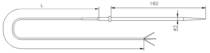
Пример для записи при заказе: ТС731-d3-H120-L3-МГТФ-Pt100 (-50…+150⁰С)
− ТC731 — модель преобразователя;
− d3 – диаметр корпуса (мм);
− Н120 — длина погружаемой части в (мм);
− L3 – длина провода (м);
− МГТФ – марка провода;
− Pt100 — тип НСХ.
Технические характеристики «ТС731»
Корпус: 12Х18Н10Т, заострен на конце.
Диаметр корпуса: 3 мм.
Длина погружной части: 120 мм.
Удлинительный провод:МГТФ.

