Соленоидный клапан (электромагнитный) AR-YCFP21
Клапан соленоидный нормально закрытый прямого действия с диафрагмой для управления потоком рабочей среды в трубопроводе
- Рабочая среда: cлабые и сильные кислоты и щелочи
- Температура рабочей среды: −20…180°С
- Рабочее давление: 0…0,4 МПа
- Диаметр условного прохода: 3 мм
- Материал корпуса: PTFE
- Материал уплотнения: PTFE
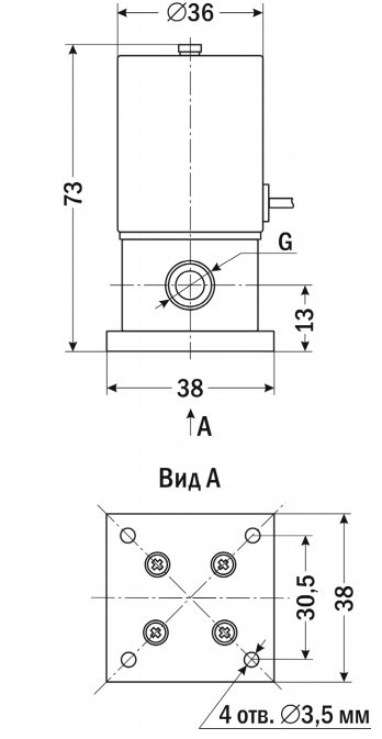
- Присоединение: резьбовое G⅛», G¼»
Цена: по запросу
Клапан соленоидный нормально закрытый прямого действия с диафрагмой AR-YCFP21 предназначен для управления потоком рабочей среды в трубопроводе.
Особенности:
- Клапан для агрессивных сред, в том числе 90% раствора серной или соляной кислоты при высоких температурах до 180°С
- Изолированная от рабочей среды диафрагма
- Срабатывание при нулевом давлении
- Компактный размер
Принцип действия и область применения:
Нормально закрытый соленоидный клапан – это магнитный клапан, в котором закрытое положение сохраняется, если управляющее напряжение на его индукционную катушку не подается. При подаче напряжения на катушку нормально закрытый клапан открывается и пропускает через себя поток рабочей среды. При отключении управляющего напряжения этот клапан автоматически закрывается и перекрывает поток рабочей среды в трубопроводе. При обрыве провода управляющего напряжения клапан будет закрыт.
Технические характеристики:
| Параметр | Значение |
| Рабочая среда | Слабые и сильные кислоты и щелочи |
| Материал | Корпуса: PTFE Уплотнения: PTFE |
| Температура рабочей среды | −20…180°С |
| Рабочее давление | 0…0,4 МПа |
| Диаметр условного прохода | 3 мм |
| Присоединение | Резьбовое G⅛», G¼» |
| Катушка | Y82B, IP65 |
| Питание | ~220 В, ~110 В, ~24 В =24 В, =12 В |
| Мощность | 35 ВА (AC), 30 Вт (DC) |
Модификации:
| Модель | Ду, мм | Присоединение | Pmin , МПа | Pmax , МПа | Катушка | Вес, кг |
| AR-YCFP21301 XPP | 3 | ⅛» | 0 | 0,4 | Y82B | 0,24 |
| AR-YCFP21302 XPP | 3 | ¼» |
| Габаритные размеры |
![]() |
| Вариант |
AR-YCFP21301 XPP ,AR-YCFP21302 XPP |
|---|

