Соленоидный клапан (электромагнитный) AR-SB125
Клапан нормально закрытый прямого действия с диафрагмой для управления потоком рабочей среды в трубопроводе
- Рабочая среда: фреон и все другие типы хладагентов, кроме аммиака
- Температура рабочей среды: −20…180°С
- Рабочее давление: 0…2,1 МПа
- Диаметр условного прохода: 2,2…25,5 мм
- Материал корпуса: латунь + медь – для соединения под пайку, латунь − для резьбового соединения
- Материал уплотнения: PTFE
- Присоединение: резьбовое JIC 7/16″-20, JIC ¾»-16, JIC 1.1/16″-12, ⅜», ⅝» или под пайку ¼»…1⅛»
Цена: по запросу
Клапан нормально закрытый прямого действия с диафрагмой AR-SB125 предназначен для управления потоком рабочей среды в трубопроводе.
Особенности:
- Для использования в холодильных установках
- Присоединение: резьбовое или под пайку
- Штуцеры под расклепку с резьбовым присоединением в комплекте
- Пониженное энергопотребление
Принцип действия и область применения:
В большинстве случаев подходит для эксплуатации в системах водоснабжения, теплоснабжения, вентиляции и пневмоуправления. Особенно актуально применение данного типа клапана, когда клапан должен быть закрыт большую часть времени либо когда он обязательно должен быть закрыт при отключении электропитания системы.
Технические характеристики:
| Параметр | Значение | |
| Рабочая среда | Фреон и все другие типы хладагентов, кроме аммиака | |
| Материал | Корпуса | Латунь + медь – для соединения под пайку, латунь – для резьбового соединения |
| Уплотнения | PTFE | |
| Температура рабочей среды | −20…180°С | |
| Рабочее давление | 0…2,1 МПа | |
| Диаметр условного прохода | 2,2…25,5 мм | |
| Присоединение | Резьбовое G¼»…G¾» или под пайку ¼»…1⅛» | |
| Катушка | SB040, IP65 | |
| Питание | ~220 В, ~110 В, ~24 В =24 В, =12 В |
|
| Мощность | 9 ВА (АС), 8 Вт (DC) | |
Модификации:
| Модель | Присоединение | Kv, м³/ч |
Ду, мм | Pmin, МПа |
Pmax, МПа |
Катушка | |
| Резьба | Под пайку | ||||||
| AR-SB125-1020/2 GBP | JIC 7/16″-20 | – | 0,175 | 2,5 | 0,0 | 2,1 | SB040 |
| AR-SB125-1020/3 GBP | ⅜» | – | 0,23 | 3,0 | |||
| AR-SB125-1028/2 GBP | – | ¼» | 0,15 | 2,2 | |||
| AR-SB125-1028/3 GBP | – | ⅜» | 0,23 | 3,0 | |||
| AR-SB125-1064/3 GBP | ⅜» | – | 0,8 | 7,0 | |||
| AR-SB125-1064/4 GBP | JIC ¾»-16 | – | |||||
| AR-SB125-1068/3 GBP | – | ⅜» | |||||
| AR-SB125-1068/4 GBP | – | ½» | |||||
| AR-SB125-1070/4 GBP | JIC ¾»-16 | – | 2,2 | 12,5 | |||
| AR-SB125-1070/5 GBP | ⅝» | – | 2,61 | 12,5 | |||
| AR-SB125-1070/6 GBP | JIC 1.1/16″-12 | – | 17,0 | ||||
| AR-SB125-1078/4 GBP | – | ½» | 2,2 | 12,5 | |||
| AR-SB125-1078/5 GBP | – | ⅝» | 2,61 | 12,5 | |||
| AR-SB125-1078/6 GBP | – | ¾» | 17,0 | ||||
| AR-SB125-1078/7 GBP | – | ⅞» | 12,5 | ||||
| AR-SB125-1078/9 GBP | – | 1⅛» | 10 | 25,5 | |||
| AR-SB125-1079/7 GBP | – | ⅞» | 2,61 | 12,5 | |||
| AR-SB125-1090/5 GBP | ⅝» | – | 17,0 | ||||
| AR-SB125-1099/9 GBP | – | 1⅛» | |||||
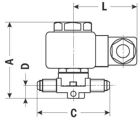
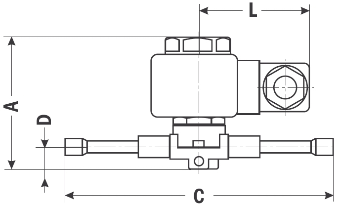
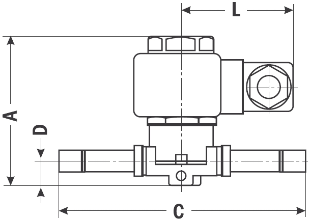
| Габаритные размеры | |
![]() |
![]() |
| 1020/2, 1020/3 | 1028/2, 1028/3 |
![]() |
![]() |
| 1064/3, 1064/4 | 1068/3, 1068/4 |
![]() |
![]() |
| 1070/4, 1070/5, 1070/6, 1090/5 | 1078/4, 1078/5, 1078/6, 1078/7, 1078/9, 1079/7, 1099/9 |
| Модель | Размеры, мм | Вес, кг | |||
| A | D | C | L | ||
| AR-SB125-1020/2 | 75 | 12,5 | 58 | 50 | 0,35 |
| AR-SB125-1020/3 | 65 | 0,36 | |||
| AR-SB125-1028/2 | 109 | 0,36 | |||
| AR-SB125-1028/3 | 120 | 0,37 | |||
| AR-SB125-1064/3 | 82 | 12 | 72 | 0,42 | |
| AR-SB125-1064/4 | 72 | 0,43 | |||
| AR-SB125-1068/3 | 120 | 0,43 | |||
| AR-SB125-1068/4 | 131 | 0,43 | |||
| AR-SB125-1070/4 | 91 | 16 | 104 | 0,75 | |
| AR-SB125-1070/5 | 108 | 0,73 | |||
| AR-SB125-1070/6 | 119 | 0,88 | |||
| AR-SB125-1078/4 | 155 | 0,73 | |||
| AR-SB125-1078/5 | 175 | 0,73 | |||
| AR-SB125-1078/6 | 172 | 0,72 | |||
| AR-SB125-1078/7 | 189 | 0,75 | |||
| AR-SB125-1079/7 | 180 | 1,39 | |||
| AR-SB125-1078/9 | 103 | 21 | 240 | 1,39 | |
| AR-SB125-1090/5 | 106 | 28 | 120 | 0,65 | |
| AR-SB125-1099/9 | 103 | 25 | 220 | 1,9 | |
| Вариант |
AR-SB125-1020/2 GBP ,AR-SB125-1020/3 GBP ,AR-SB125-1028/2 GBP ,AR-SB125-1028/3 GBP ,AR-SB125-1064/3 GBP ,AR-SB125-1064/4 GBP ,AR-SB125-1068/3 GBP ,AR-SB125-1068/4 GBP ,AR-SB125-1070/4 GBP ,AR-SB125-1070/5 GBP ,AR-SB125-1070/6 GBP ,AR-SB125-1078/4 GBP ,AR-SB125-1078/5 GBP ,AR-SB125-1078/6 GBP ,AR-SB125-1078/7 GBP ,AR-SB125-1078/9 GBP ,AR-SB125-1079/7 GBP ,AR-SB125-1090/5 GBP ,AR-SB125-1099/9 GBP |
|---|






