Сигнализатор уровня для КНС и сточных вод ПСУ-1
Подвесной сигнализатор уровня ПСУ-1 предназначен для управления наполнением/опорожнением резервуаров с водой и другими неагрессивными к материалу ПСУ жидкостями, в том числе содержащими твердые включения
Цена: по запросу
Прибор для управления наполнением/опорожнением резервуаров с водой и другими неагрессивными к материалу ПСУ жидкостями, в том числе содержащими твердые включения
- Количество уровней: 1
- Реле: ~10 А, 250 В
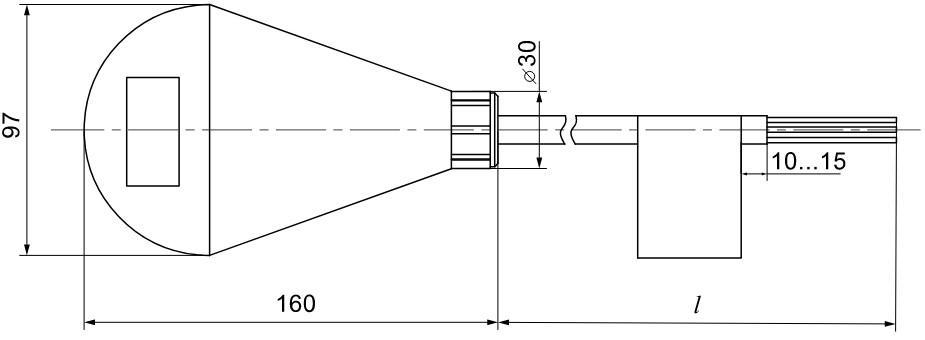
- Диаметр поплавка: 97 мм
- Длина провода: 5…20 м
- Материал корпуса: полипропилен
- Материал провода: неопрен
- Защита: IP68
ПСУ-1 применяется в качестве датчика уровня канализации и сточных вод как промышленных, так и коммунальных.
Датчики выпускаются с неопреновым кабелем длиной 5, 10 и 20 м в зависимости от исполнения.
Принцип действия:
Подвесные сигнализаторы уровня крепятся на прочном гибком кабеле и содержат герметично закрытый микропереключатель.
Во время погружения ПСУ-1 в жидкость его корпус отклоняется, что вызывает срабатывание микропереключателя. Микропереключатель замыкает/размыкает электрическую цепь, таким образом включается/останавливается исполнительный механизм (насос, вентиль и др.).
Технические характеристики
| Параметр |
Модификация
|
| Количество измеряемых уровней | 1 |
| Диапазон коммутируемого напряжения | ~150…250 В |
| Коммутируемый ток | ≤ 10 A |
| Максимальная коммутируемая мощность | 2 кВт |
| Угол включения/выключения | 50(±10)° |
| Степень защиты по ГОСТ 14254 | IP68 |
| Класс защиты от поражения электрическим током по ГОСТ IEC60335-1 | II |
| Электрическая прочность изоляции (вход-корпус) | 3000 В |
| Сопротивление изоляции (вход-корпус) | ≥ 20 МОм |
| Материал корпуса | полипропилен |
| Материал кабеля | неопрен |
| Диаметр наружной оболочки соединительного кабеля | 6,5 мм |
| Сечение соединительных проводов | 1 мм2 |
| Длина кабеля | 5…20 м |
| Условия эксплуатации — температура рабочей среды — давление рабочей среды — плотность рабочей среды |
0…70°С ≤ 0,4 МПа 950…1 050 кг/м3 |
| Средняя наработка на отказ | ≥ 50 000 срабатываний |
Габаритные размеры
Купить сигнализатор уровня в Перми можно в компании БРИКО Автоматик.
| Бренд |
|---|

