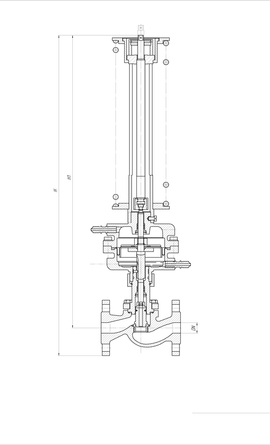
Регулятор давления прямого действия «до себя» (РА-В)
PA-B – регулятор «до себя». Перепускной клапан, который необходим для обеспечения поддержки установленного значения давления в трубопроводной системе до регулятора.
Цена: по запросу
Регулятор давления воды в системе водоснабжения и отопления применим для монтажа в тепло- и водоснабжающих системах на холодную и горячую воду. Купив регулятор давления воды в системе водоснабжения и отопления, его можно устанавливать на 30-процентную эмульсию на основе воды и этиленгликоля, температурное значение которой не превышает 150°С, а номинальное давление – в пределах 1,6 МПа.
Регуляторы давления прямого действия не являются запорной арматурой, работают при постоянном расходе среды через регулятор.
Технические характеристики РА-В
| Диаметр номинальный DN | 15 | 20 | 25 | 32 | 40 | 50 | 65 | 80 | 100 | 125 | 150 | 200 |
|---|---|---|---|---|---|---|---|---|---|---|---|---|
| Условная пропускная способность, Kvy, м3/ч | 0,16 0,25 0,4 0,63 1,0 1,6 2,5 3,2 4,0 |
1,6 2,5 4 6,3 |
1,6 2,5 4,0 6,3 8 10 |
6,3 10 16 |
10 16 20 25 |
10 16 25 32 40 |
25 40 50 63 |
40 63 80 100 |
63 100 125 |
100 125 160 |
160 280 |
250 360 450 630 |
| Давление номинальное PN, МПа | 1,6 | |||||||||||
| Температура рабочей среды, оС | -15…+150 | |||||||||||
| Номер диапазона настройки стабилизирующего давления | 0 — от 0,01 до 0,1 МПа(цвет пружины — СЕРЫЙ) 1 — от 0,04 до 0,16 МПа 2 — от 0,1 до 0,4 МПа 3 — от 0,3 до 0,7 МПа 4 — от 0,6 до 1,2 МПа |
|||||||||||
| Зона пропорциональности, %, не более | 6 | |||||||||||
| Зона нечувствительности, %, не более | 2,5 | |||||||||||
| Постоянная времени, сек, не более | 25 | |||||||||||
| Относительная протечка, %, не более | 0,05 от Kvy | |||||||||||
| Присоединение к трубопроводу | фланцевое (исполнение 1 по ГОСТ 12815-80) | |||||||||||
| Температура окружающей среды, оС | -5…+55 | |||||||||||
Усилие на штоке клапана
| Обозначение регулятора | Обозначение комплекта | Состав комплекта | Кол-во |
|---|---|---|---|
| Регулятор давления «После себя» (РА-А) Регулятор давления «До себя» (РА-В) |
МК-2.1 | Адаптер G1/2″ x G1/4>> | 1 |
| Врезное кольцо | 3 | ||
| Затяжная гайка | 3 | ||
| Корпус G1/4>> | 1 | ||
| Корпус М12 х 1,5 | 2 | ||
| Трубка медная | 0,5; 0,3 м |
| Бренд |
|---|

0 — от 0,01 до 0,1 МПа