КДУ-1 и КДУ-1Э Кондуктометрические датчики уровня KIPVALVE
- Материал изолятора — Фторопласт
- Материал датчика контактирующий со средой — AISI 304
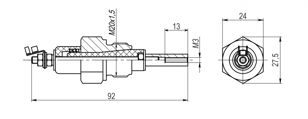
- Установочная резьба датчика — М20х1.5 -стандартно, G12 и иное присоединение под заказ
- Установочная резьба электрода (стержня*, приобретается отдельно) — М3
- Температура рабочей среды, не более — 200 ºC
- Давление рабочей среды, не более — 2,5 МПа
- Разборный корпус — да
Цена: по запросу
Кондуктометрические датчики уровня KIPVALVE КДУ-1Э и КДУ-1 предназначены для контроля уровней электропроводящих жидкостей (таких как: вода, молоко, слабокислотные или щелочные жидкости) в различных сосудах, в том числе находящимися под давлением.
Контроль уровня жидкости кондуктометрическим методом основан на измерении сопротивления (электропроводности) между электродами (см. рисунок ниже).
Один из электродов является общим, а остальные сигнальными. Общий электрод должен быть самым длинным и постоянно находиться в жидкости. Длина сигнальных электродов определяется высотой контролируемого уровня. В момент, когда общий электрод погружён в жидкость, а сигнальный электрод не погружён в жидкость, между электродами находится воздух и проводимость между электродами отсутствует. В этом случае на регуляторе отсутствует сигнал. В момент, когда уровень жидкости достигает сигнального электрода, происходит замыкание цепи между общим и сигнальным электродом через жидкость. В этом случае на регулятор поступает сигнал о достижении контролируемого уровня.
Количество сигнальных электродов может быть различным и определяется возможностями регулятора, к которому подключаются кондуктометрические датчики КДУ.
Кондуктометрические датчики KIPVALVE серии КДУ выполняют роль проходного изолятора, который позволяет установить сигнальный электрод (стержень) в ёмкость таким образом, что электрод полностью изолирован от корпуса ёмкости.
Кондуктометрические датчики могут применяются для контроля уровня как в металлических, так и неметаллических резервуарах.
В металлических резервуарах (см. рисунок ниже) количество применяемых сигнальных электродов соответствует числу контролируемых уровней, а в качестве общего электрода может использоваться корпус резервуара. В этом случае достаточно приобрести один или несколько кондуктометрических датчиков (в зависимости от количества контролируемых уровней) с электродами (стержнями) необходимой длины.
В неметаллических резервуарах (см. рисунок ниже) количество используемых датчиков должно быть на один больше, чем число контролируемых уровней, поскольку один из них будет использоваться для установки общего электрода (стержня).
Отличительные особенности кондуктометрического датчика KIPVALVE КДУ-1:
- Разборный корпус датчика делает его ремонтопригодным в случае несоблюдения эксплуатационных условий и снижает затраты на обслуживание системы.
- Корпус и сердечник из нержавеющей стали позволяют эксплуатировать датчик в агрессивных условиях.
- Защита изолятора от выбивания давлением обеспечивает надёжную эксплуатацию в сосудах под давлением до 25 бар.
- Тщательно подобранные материалы и продуманный конструктив обеспечивают конкурентную цену при отличных эксплуатационных характеристиках.
- Также доступна экономичная версия датчика КДУ-1Э. Это необслуживаемый датчик в корпусе из стали 20.
Технические характеристики:
| Наименование параметра | КДУ-1Э | КДУ-1 |
| Материал изолятора | Фторопласт | |
| Материал датчика контактирующий со средой | Сталь 20 (оцинкованная)/ AISI 304 | AISI 304 |
| Установочная резьба датчика | М20х1.5 -стандартно, G12 и иное присоединение под заказ |
|
| Установочная резьба электрода (стержня*) | М3 | |
| Температура рабочей среды, не более | 180 °С | 200 °С |
| Давление рабочей среды, не более | 1,6 МПа | 2,5 МПа |
| Разборный корпус | нет | да |
*- стержни приобретаются отдельно
Габаритные размеры в мм:
Габаритные и установочные размеры датчика КДУ-1
Габаритные и установочные размеры датчика КДУ-1Э
Структура условного обозначение кондуктометрических датчиков KIPVALVE:
Вы можете купить кондуктометрический датчик уровня КДУ-1 и КДУ-1Э в компании БРИКО Автоматик г. Пермь





