ДВТ-03.НЭ Датчик влажности и температуры
• 2 выхода 0…10 В
• Низкая инерционность
• Взаимозаменяемый чувствительный элемент
• Различные конструктивные исполнения
• Широкий диапазон напряжения питания
Цена: по запросу
Датчики влажности воздуха и температуры ДВТ-03.НЭ – это недорогие приборы для контроля влажности и температуры в помещении, на улице, в системах воздуховодов, термокамерах и т.д.
Чувствительный элемент датчика влажности является взаимозаменяемым элементом. Замена чувствительного элемента не влияет на потерю точности прибора. Датчик влажности ДВТ-03.НЭ обеспечивает высокую стабильность показаний.
Датчики температуры и влажности ДВТ-03.НЭ выпускаются выпускаются в двух исполнениях по точности: 2 или 3, и не имеют индикатора.
Технические характеристики
|
Напряжение питания |
18…36 В |
|
Диапазон измерения относительной влажности |
0…98 % |
|
Диапазон измерения температуры |
-40…+50°С (Н1, У) -40…+100°С (Н2, К1, К2, Кл1-1, Кл1-2, Кл4-1) |
|
Диапазон температуры эксплуатации |
-40…+50°С |
|
Степень защиты корпуса первичного преобразователя |
IP50 (Н1, Н2, К1, К2) IP53 (У) |
|
Степень защиты корпуса вторичного преобразователя |
IP54 |
|
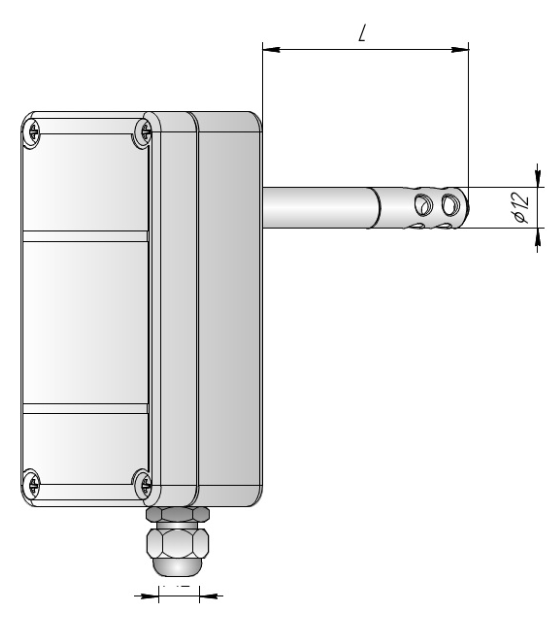
Габаритные размеры первичного преобразователя |
d=12 мм, l=160 мм (Н1, Н2) d=12 мм, l=160, 200, 300 мм (К1, К2) d=100 мм, l=100 мм (У) |
|
Габаритные размеры вторичного преобразователя |
115х65х40 мм |
Абсолютная погрешность датчика влажности ДВТ-03.НЭ в зависимости от исполнения по точности измерения
|
Измеряемая величина |
Абсолютная погрешность |
|
|
Относительная влажность в диапазоне 10…90% |
±2,5% |
|
|
Относительная влажность в диапазоне 0…10%, 90…98% |
±4,0% |
|
|
Температура в диапазоне 0…+90°С |
±0,4°С |
|
|
Температура в диапазоне -40…0°С, +90…+100°С |
±0,6°С |
|
*Дополнительная погрешность измерений, не более: ±10 % от основной абсолютной погрешности, на каждые 10°С изменения температуры окружающей среды.
Конструктивные исполнения датчиков влажности
Датчик влажности канальный |
||
|
К1 |
К2 |
Датчики влажности воздуха канальные конструктивных исполнений К1 и К2 применяются для контроля относительной влажности и температуры в газообразных средах систем отопления и кондиционирования (HVAC), при расстойке теста в хлебопекарнях, в процессах сушки макаронных изделий, древесины, глины, в инкубаторах, а также в климатических камерах, холодильниках, морозильниках. Диапазон измерения температуры: -40…+100°С |
Датчик влажности настенный (накладной) |
||
|
Н1 |
Н2 |
Датчики влажности настенные (накладные) конструктивных исполнений Н1 и Н2 применяются для измерения относительной влажности и температуры в производственных помещениях предприятий электронной промышленности, лёгкой промышленности, при выращивании грибов, производстве сыров, в овощехранилищах, теплицах, в помещениях для выращивания птицы и скота, при производстве бумаги, текстиля, в процессе созревания, сушки и хранения колбас.
Диапазон измерения температуры: -40…+50°С (Н1), -40…+100°С (Н2) |
Датчик влажности уличный |
||
|
У |
Уличный датчик влажности (У) предназначен для измерения относительной влажности или относительной влажности и температуры воздуха и других неагрессивных газов вне помещений. Для защиты от солнечных лучей и дождя датчик снабжен специальным колпаком. Диапазон измерения температуры: -40…+50°С |
|
| Бренд |
|---|



