Датчик температуры ТХА-К.207 Термопара
Цена: по запросу
ТУ 4211-022-39375199-02
Область применения
Термопреобразователи для измерения температуры в потоке газообразной среды.
Конструктивные особенности
Защитная арматура с неподвижным штуцером и утонением в зоне измерения. Материал клеммной головки – алюминиевый сплав.
Номинальное давление
Монтажные элементы рассчитаны на PN= 16 МПа
Диапазоны измерения
|
Тип термопары |
Материал защитной арматуры |
Диапазон рабочих температур, °С |
Номинальная температура применения, °С |
|
К |
С13 |
от -40 до 700 |
650 |
|
Т00, Т18 |
от -40 до 750 |
650 |
|
|
Т310 |
от -40 до 800 |
700 |
|
|
Т45 |
от -40 до 900 |
700 |
Предельная скорость потока
|
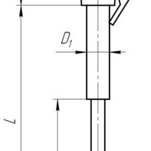
Длина монтажной части, L, мм |
Предельная скорость потока газообразной среды с плотностью ≤10 кг/м3, м/с |
|
250 |
90 |
|
320 |
70 |
|
400 |
60 |
|
500 |
45 |
|
630 |
35 |
|
800 |
25 |
Технические характеристики
|
Модификация |
Количество рабочих спаев |
Диаметр защитной арматуры, D, мм |
Диаметр d, мм |
Показатель тепловой инерции, с, не более |
Длина монтажной части, L, мм |
|
|
с изол. спаем |
с неизол. спаем |
|||||
|
ТХА-К.207 |
1 или 2 |
20 |
5 |
5 |
3 |
250, 320, 400, 500, 630, 800 |
|
7 |
8 |
5 |
||||
|
Пример обозначения при заказе |
||||||||||
| ТХА-К.207 |
– |
2 |
– |
1 |
– |
1 |
– |
С13/20 |
– |
400/5 |
|
1 |
|
2 |
|
3 |
|
4 |
|
5 |
|
6 |
- Тип и модификация термопреобразователя
- Класс допуска, 1 или 2
- Изоляция рабочего спая: «1» — изолированный, «2» — неизолированный
- Количество чувствительных элементов: 1 или 2.
- Материал защитной арматуры / Наружный диаметр арматуры, D
- Монтажная длина, L / Диаметр, d
