Термодат-35С5 погодозависимый регулятор температуры
Термодат-35С5 служит для регулирования температуры в здании, отапливаемом центральным отоплением, согласно календарному и суточному графикам.
Цена: по запросу
Термодат-35С5 служит для регулирования температуры в здании, отапливаемом центральным отоплением, согласно календарному и суточному графикам.
- Адаптация отопительной системы к изменяющимся погодным условиям.
- Уменьшение потребления тепловой энергии в интервалы времени, в течение которых потребность в обогреве снижается, или отсутствует.
- Обрезание избытка теплоносителя.
- Экономия затрат на теплоноситель от 25%.
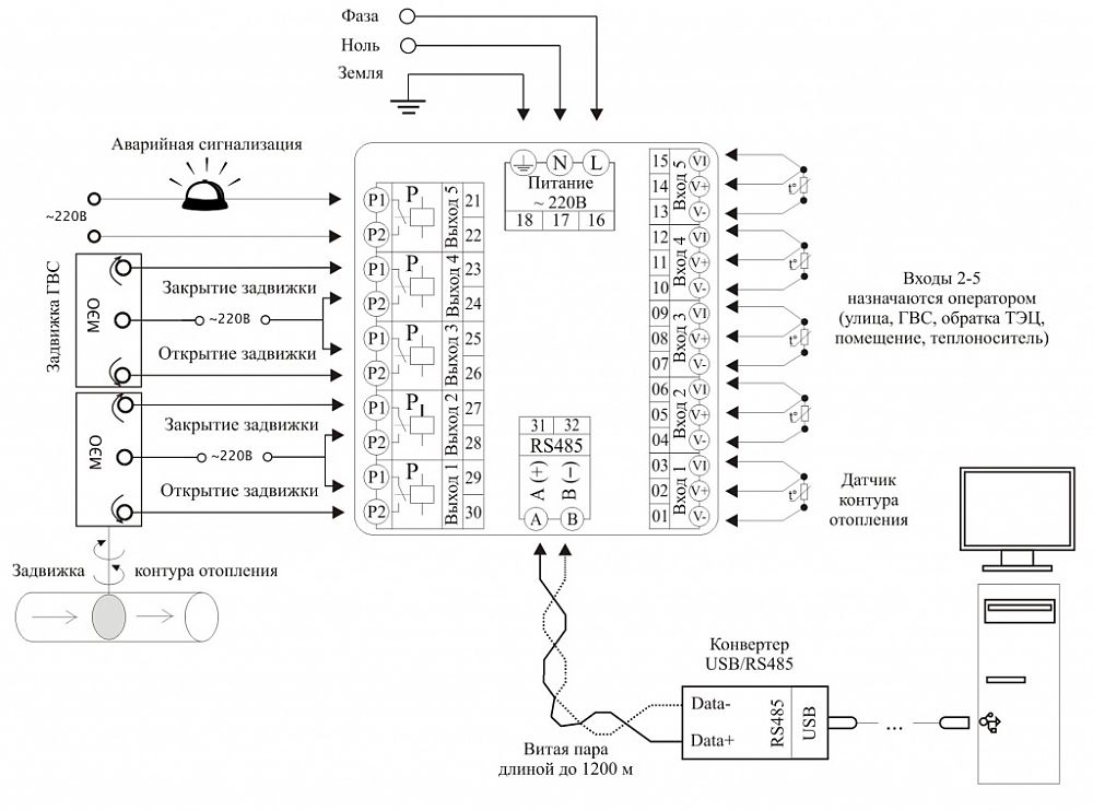
Прибор предназначен для регулирования температуры в помещении с учетом температуры на улице, в помещении и на нагревательном элементе в зависимости от дня недели и времени суток с учетом праздничных и предпраздничных дней. Термодат-35C5 — ПИД-регулятор, для удобства настройки предусмотрена автоматическая настройка коэффициентов ПИД-регулирования. Прибор может также работать в режиме позиционного регулирования.
Описание и область применения:
- Модуль обеспечивает погодозависимое управление температурой подающей магистрали без прямого влияния комнатной температуры и при этом осуществляет следующие функции:
- Включение отопления в зависимости от типа здания и наружной температуры
- Отображение текущих значений, параметров, сигналов о неполадке, рабочих режимов
- Недельная программа отопления с тремя периодами переключения в день
- Годовой календарь с автоматическим переключением зима/лето
- Программа задания праздников (до 30 периодов в год)
- Измерение и регистрация комнатной температуры
- Защита возвращаемого теплоносителя от замерзания
- Могут использоваться любые промышленные датчики температуры
Технические характеристики «Термодат-35С5»
| Входы: | Пять входов для термосопротивлений |
| Выходы: | 5 реле на блоке индикации и управления. |
| Закон регулирования: | ПИД |
| Напряжение питания: | Номинальное ~ 220В, допустимое ~160…250В; |
| Диапазон температур эксплуатации: | От 5°С до 40°С |
| Корпус: | Металлический, для щитового монтажа |
| Дисплей: | Двухстрочный алфавитно-цифровой дисплей |
| Габаритные размеры: | Лицевая панель 96х96мм, глубина 92мм, вырез в щите 92х92мм |
| Гарантия: | 3 года |
Модели прибора
35C5 — 5 входов для термометров сопротивления, 5 реле, интерфейс RS485, архив 2Мб
Модели снятые с производства
- 35C5/232/2М
Вы можете купить Термодат-35С5 в Перми в компании БРИКО Автоматик г. Пермь
| Бренд |
|---|

