Ротационный сигнализатор уровня сыпучих материалов
Порошки, гранулы, кусковые материалы: мел, гипс, ПВХ-гранулят, щебень, керамзит
Цена: по запросу
Сигнализатор INNOLevel представляет собой датчик уровня и используется для мониторинга уровня сыпучих продуктов. Он может быть использован в качестве датчика заполнения, опустошения или промежуточного уровня.
Принцип работы датчика уровня INNO Level
Измерительная лопасть приводится в действие синхронным двигателем. При контакте лопасти с материалом происходит останов двигателя. Возникающий реактивный момент используется, чтобы привести в действие микровыключатель, который выдает сигнал (регистрация уровня материала). При снижении уровня материала, пружина возвращает двигатель в исходное положение, лопасть освобождается, и двигатель снова включается.
Стандартные примеры применения датчика-сигнализатора уровня для сыпучих материалов INNOLevel:
- Пластиковые порошки и гранулы (ПВХ гранулят, ПЭТ гранулы)
- Строительные материалы (цемент, сухие смеси, гипс)
- Пищевые продукты
- Бытовая химия
и многое другое.
Преимущества:
Выключатель INNOLevel является экономичным решением для достоверного измерения уровня заполнения, а также обладает рядом преимуществ:
- Опорный подшипник качения вала обеспечивает высокую стойкость к механическим нагрузкам
- Элемент крепления выполнен раздельно с корпусом прибора
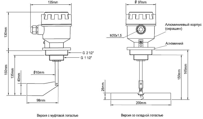
- Два типа прямой резьбы G 1 1/2″ и G 2 1/2″
Скачать техническое описание датчика уровня INNOLevel
| Артикул | Характеристики | Напряжение питания |
| INNOLevel IL-LAA-N | Механический ротационный датчик предельного уровня сыпучих материалов в алюм. корпусе, -40 +80 С, Рmax=0.8 bar, IP65, лопасть 40х98 мм, скорость вращения 1 об/мин, соединение — резьба 1 1/2″ / 2 1/2″, алюм.; удлинитель 150 мм нерж. cталь, 1 гермоввод | 230 VAC |
| INNOLevel IL-LEA-N | 24 VDC | |
| INNOLevel IL-LBA-N | 115 VAC | |
| INNOLevel IL-LDA-N | 24 VAC | |
| INNOLevel IL-LAS-N | Механический ротационный датчик предельного уровня сыпучих материалов в алюм. корпусе, -40 +80 С, Рmax=0.8 bar, IP65, лопасть складная 28х200 мм, скорость вращения 1 об/мин, соединение — резьба 1 1/2″ / 2 1/2″, алюм.; удлинитель 150 мм нерж. cталь, 1 гермоввод | 230 VAC |
| INNOLevel IL-LES-N | 24 VDC | |
| INNOLevel IL-LBS-N | 115 VAC | |
| INNOLevel IL-LDS-N | 24 VAC |
| INNOLEVEL ротационные общепром./Стандартные | |
| Артикул | Описание |
| IL-LAA-N (220 VAC) | Механический ротационный датчик предельного уровня сыпучих материалов в алюм. корпусе, -40 +80 С, Рmax=0.8 bar, 220 VAC, IP65, лопасть 40х98 мм, нерж. сталь, скорость вращения 1 об/мин, соединение- резьба 1 1/2″ с переходом на 2 1/2″, алюм., удлинение 150 мм, нерж. сталь, 1 гермоввод |
| IL-LAA-N-5 (220 VAC) | Механический ротационный датчик предельного уровня сыпучих материалов в алюм. корпусе, -40 +80 С, Рmax=0.8 bar, 220 VAC, IP65, лопасть 40х98 мм, нерж. сталь, скорость вращения 5 об/мин, соединение- резьба 1 1/2″ с переходом на 2 1/2″, алюм., удлинение 150 мм, нерж. сталь, 1 гермоввод |
| IL-LAS-N (220 VAC) | Механический ротационный датчик предельного уровня сыпучих материалов в алюм. корпусе, -40 +80 С, Рmax=0.8 bar, 220 VAC, IP65, лопасть складная двусторонняя 28х200 мм, нерж. сталь, скорость вращения 1 об/мин, соединение- резьба 1 1/2″ с переходом на 2 1/2″, алюм., удлинение 165 мм, нерж. сталь, 1 гермоввод |
| IL-LBA-N (115 VAC) | Механический ротационный датчик предельного уровня сыпучих материалов в алюм. корпусе, -40 +80 С, Рmax=0.8 bar, 115 VAC, IP65, лопасть 40х98 мм, нерж. сталь, скорость вращения 1 об/мин, соединение- резьба 1 1/2″ с переходом на 2 1/2″, алюм., удлинение 150 мм, нерж. сталь, 1 гермоввод |
| IL-LDA-N (24 VAC) | Механический ротационный датчик предельного уровня сыпучих материалов в алюм. корпусе, -40 +80 С, Рmax=0.8 bar, 24 VAC, IP65, лопасть 40х98 мм, нерж. сталь, скорость вращения 1 об/мин, соединение- резьба 1 1/2″ с переходом на 2 1/2″, алюм., удлинение 150 мм, нерж. сталь, 1 гермоввод |
| IL-LEA-N (24 VDC) | Механический ротационный датчик предельного уровня сыпучих материалов в алюм. корпусе, -40 +80 С, Рmax=0.8 bar, 24 VDC, IP65, лопасть 40х98 мм, нерж. сталь, скорость вращения 1 об/мин, соединение- резьба 1 1/2″ с переходом на 2 1/2″, алюм., удлинение 150 мм, нерж. сталь, 1 гермоввод |
| IL-LEA-N-5 (24 VDC) | Механический ротационный датчик предельного уровня сыпучих материалов в алюм. корпусе, -40 +80 С, Рmax=0.8 bar, 24 VDC, IP65, лопасть 40х98 мм, нерж. сталь, скорость вращения 5 об/мин, соединение- резьба 1 1/2″ с переходом на 2 1/2″, алюм., удлинение 150 мм, нерж. сталь, 1 гермоввод |
| IL-LES-N (24 VDC) | Механический ротационный датчик предельного уровня сыпучих материалов в алюм. корпусе, -40 +80 С, Рmax=0.8 bar, 24 VDC, IP65, лопасть складная двусторонняя 28х200 мм, нерж. сталь, скорость вращения 1 об/мин, соединение- резьба 1 1/2″ с переходом на 2 1/2″, алюм., удлинение 165 мм, нерж. сталь, 1 гермоввод |
Опции для ротационного датчика уровня INNOLevel в общепромышленном исполнении
| Артикул | Описание | Внешний вид |
| ДУ 40 С | Гайка сталь 1 ½» | ![]() |
| ДУ 40 СО | Гайка сталь оцинкованная 1 ½» | ![]() |
| IL-001 | Жесткое удлинение вала (+215 мм) Монтаж в стенку, в крышу, в нижний конус емкости. Установка вертикально, горизонтально, под углом. |
![]() |
| IL-006 | Маятниковый удлинитель 500 мм + монтажный набор Монтаж в крышу емкости. Установка только вертикально. |
![]() |
| IL-007 | Маятниковый удлинитель 1000 мм + монтажный набор Монтаж в крышу емкости. Установка только вертикально. |
|
| IL-013 | Тросовый удлинитель 1000 мм + монтажный набор Монтаж в крышу емкости. Установка только вертикально. |
![]() |
| IL-011 | Тросовый удлинитель 1500 мм + монтажный набор Монтаж в крышу емкости. Установка только вертикально. |
|
| IL-008 | Тросовый удлинитель 2000 мм + монтажный набор Монтаж в крышу емкости. Установка только вертикально. |
|
| IL-009 | Тросовый удлинитель 3000 мм + монтажный набор Монтаж в крышу емкости. Установка только вертикально. |
|
| IL-010 | Тросовый удлинитель 4000 мм + монтажный набор Монтаж в крышу емкости. Установка только вертикально. |
Вы можете купить Датчик-сигнализатор уровня сыпучих материалов INNOLevel в Перми в компании БРИКО Автоматик г. Пермь
|
Корпус |
Алюминий , IP65 |
|
Температура процесса |
-40°С…+80°С |
|
Давление |
Макс. +0,8 Бар |
|
Чувствительность |
От 100 г/л, 4 регулировочных положения |
|
Напряжение питания |
230 VAC или 110VAC или 24 VAC 50-60 Гц 24 VDC |
|
Технологическое подключение |
Резьба G 1 ½» совместно с G 2 ½» |
|
Подшипник |
Шариковый подшипник |
|
Допуски |
Декларации ТР ТС 004/2011 и 020/2011 Гигиенический сертификат |
Применение:
• Пластиковые порошки и гранулы (ПВХ гранулят, ПЭТ гранулы)
• Строительные материалы (цемент, сухие смеси, гипс)
• Пищевые продукты
• Бытовая химия
Опции к ротационным сигнализаторам уровня
Опции:
•Жесткое удлинение вала 365 мм
•Маятниковое удлинение вала 500 мм, 1000 мм
•Тросовое удлинение вала от 1000 мм до 4000 мм
•Монтажные части (контргайки, приварные бобышки)
•Складная лопасть
Муфтовая лопасть для ввода в штуцер G 1 ½“, Lmax=40мм
Складная лопасть для ввода в штуцер G 1 ½“ с длиной более 40мм
Приварная муфта 1 ½”, оцинкованная или стальная
Примеры применения
Производство керамической плитки и керамогранита
Датчики устанавливаются на силосах хранения пресс-порошка. Верхний аварийный датчик не допускает переполнение бункера при загрузке сырья. Нижний датчик своевременно оповещает о необходимости досыпать в бункер, тем самым не позволяя бункеру опустошиться, что повлечет за собой остановку производства.
Контроль уровня полимерного гранулята
Предприятие производит ПП трубы и фитинги. Используемое сырье — полипропиленовый гранулят и краситель — подаются пневмотранспортом поочередно в весовой блок, из которого попадают в шнековый смеситель.
Установленный на оборудовании флажковый сигнализатор уровня INNOLevel контролирует предельное значение заполнения смесителя, исключая его переполнение и выдает команду на контроллер для включения шнека.
Данное решение позволяет избежать издержек, связанных с высыпанием сырья из смесителя и его уборкой, а также исключает выпуск некондиционной продукции.
Производство топливных гранул (пеллет)
Завод по производству древесных топливных гранул (пеллет). В качестве сигнализаторов предельного уровня были выбраны ротационные датчики INNOLevel. Приборы установлены на бункеры с древесной мукой, бункеры хранения готовой продукции. Также датчики применяются для определения уровня в охладителях топливных гранул и собственной котельной предприятия. Применение датчиков уровня позволило достичь высокой степени автоматизации производства — персонал завода составляет всего 2 человека в смену.
Мукомольное производство
Мукомольный завод, применяет флажковые датчики уровня INNOLevel с тросовым удлинением для контроля верхнего уровня на складе бестарного хранения муки. Ранее возникали аварийные ситуации переполнения бункеров. Требовалось время и привлечение персонала для уборки рассыпанной муки, а сам продукт приходил в негодность. Проведенная модернизация позволила избежать аварийных ситуаций и затрат, связанных с ними.
Контроль уровня в пропаривателе щепы
Компания по производству плит ДСП нуждалась в надежном сигнализаторе уровня в пропаривателе щепы. Для качественного пропаривания важен уровень заполнения бункера, ввиду чего необходимо было подобрать сигнализатор уровня, способный работать в условиях повышенной влажности и температуры до 180С – в бункер пропаривателя подается горячий пар. Установленный на оборудовании флажковый сигнализатор уровня INNOLevel в высокотемпературном исполнении до 250С успешно справился с задачей, позволил оптимизировать технологический процесс пропаривания и исключил выход некондиционного сырья.
Контроль уровня в накопителе
Установленные на накопителе емкостные датчики выдают ложные срабатывания, что приводит к аварийному отключению транспортера подачи топлива (древесной щепы). Решение: в стенке накопителя смонтирован компактный сигнализатор уровня INNOLevel серии M, выбор миниатюрного датчика обусловлен малым размером бункера. Как только уровень топлива опускается ниже места установки датчика, происходит включение транспортера по таймеру до полного заполнения накопителя.
| Вариант |
INNOLevel IL-LAA-N 220VAC ,INNOLevel IL-LEA-N 24VDC ,INNOLevel IL-LBA-N 115VAC ,INNOLevel IL-LDA-N 24VAC ,INNOLevel IL-LAS-N 220VAC (складная лопасть) ,INNOLevel IL-LES-N 24VDC (складная лопасть) ,INNOLevel IL-LBS-N 115VAC (складная лопасть) ,INNOLevel IL-LDS-N 24VAC (складная лопасть) |
|---|---|
| Бренд |
























